昭和四十九年五月一日(国税庁告示第四号)
印紙税法施行令(昭和四十二年政令第百八号)第七条第三項の規定に基づき、次の計器を指定する。
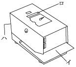
オートスタンプ計器GC型(電動式)で次に掲げる構造及び機能を有するもの
(1) 構造

イ 印紙税額に相当する金額を表示して納付印を押す箇所
ロ 印紙税額に相当する金額を表示して納付印を押した累積回数があらわれる箇所
ハ 印紙税額に相当する金額の総額を限度として必要な措置を講ずる箇所
(2) 機能
表示することができる印紙税額に相当する金額の総額を限度として必要な措置を講ずることにより、限度とした当該金額の総額に達するまで当該金額を表示して納付印を押すことができるもの